织物陈设-家纺与布草| 星级酒店的布草到底好在哪里?

关键词:#织物陈设#住宅家纺#酒店布草的应用

导读
为什么我们要讲织物陈设中的家纺布艺?,家纺包含哪些内容?家纺如何与人的健康息息相关,星级酒店的布草有哪些专业的要求? 今天羽番带你深入织物陈设之酒店布草,诠释织物体验实用美感。
本期我们来聊聊关于“织物陈设-家纺与酒店布草窗”的那些事儿,主要想解决以下问题:
1、我们如何建立织物陈设的体系呢?
2、遇到大型的酒店项目需要布草设计,你不知道如何下手,怎么办?
3、你分不清家纺与酒店布草之间的关系,怎么办?
家纺与酒店布草
先建立织物陈设的认知及架构
织物陈设属于室内陈设体系之一,我们讲解的窗帘,家纺/酒店布草,地毯,装饰织物都属于织物陈设的范畴,与家具陈设,灯具陈设,饰品陈设,同类大项,这是建立软装陈设体系的核心部分。
Ps:你可能会觉的很理论,这个我们产品体系的第一步,先以结构思维建立大的框架,先逐步的攻破每个大分类中的小分类,逐渐建立陈设体系,无论你做什么设计,都可以形成自身坚固的知识应用体系。

织物的陈设和配搭越来越成为室内设计中对于整个空间装饰水平的重要衡量标准之一。织物不是我们传统意义上理解的窗帘被单,它包含很多方面(请移步35讲窗帘篇)。
织物陈设在空间中应用的面积是最大的,近现代新兴的软装饰行业就是以室内织物设计为主导的装饰配搭行业。
织物本身是柔软的,因此特性,织物给人带来的感受是温暖亲切的,任何其他材质都无法替代的。

织物属于实用美学范畴
美学范畴被人类沿用至今,必须满足两个条件:实用+装饰美感
第一织物最重要的先解决实用价值。
比如上一期窗帘用来遮挡强光,屏风纱幔用来营造隐私空间,在墙立面采用针织物可以隔音等。
第二起到整个空间的装饰作用。不同的地域文化,生活环境导致人们的审美也各不相同。织物也随着时代的变化而发展,由过去繁琐细腻的表现手法变成现在抽象几何形式感强烈的表现手法,素净质朴简洁的表现,不论是哪种风格,在搭配中我们要注重整体设计与空间格调的整体协调。
1.
世界各地的床品发展简史
室内织物中最早出现的是床品,先解决人生存之一睡眠及保暖的问题。
在购买床上用品的时候,你是否想过一个问题呢?这些已经离不开我们生活的床上用品,是什么样子的呢?最原始的床上用品为草、兽皮、棉花、羊毛等一些大自然里面的直接获取品。那么现在使用的床上用品是在什么时候开始形成的呢?
发展简史以导图的形式展示

2.
家纺与酒店布草的区分在哪里?
每一个居家过日子的贤妻良母对家纺都了如指掌,大到床品的选购,小到毛巾清洁布的选配,样样精通,作为设计师,当你接到精品酒店或民宿的项目时,需要专业的布草实战知识 自身的知识及技能满足不了项目需求时,你该怎么办呢?
01、什么是酒店布草?
酒店的床单毛巾等为什么叫布草呢? 跟布有关系,跟草没关系呀......?
酒店布草是由于一名英籍人士翻译出来的叫法,由香港金麒麟国际酒店首先使用后,逐渐被内地酒店借鉴,成为了酒店专业用语。泛指酒店内一切跟“布”有关的东西。
酒店布草通俗来讲就是酒店里用的纺织品,主要包括卫浴巾类、客房床上用品、餐用纺织品这三大类,布草与皮草是完全不同的概念哦。


02、酒店布草和家纺用品的区别?
家用纺织品则主要注重外观花型颜色,性价比,以个人的喜好选择。
在住宅项目中,家纺的选择更多是客户自行采购,设计师不过多参与。
在精装房的样板间项目中也多采用的是成套的展示面料的家纺产品,设计师外包即可。
若你设计酒店项目,那布草选择不单是选床品那么简单?
国际精品酒店,如全球洲际酒店集团InterContinental Hotels Group PLC (IHG),顶级豪华酒店文华东方,布草的是由专业的布草合作品牌按高标准定制的。(我们后续在酒店陈设FFE系统会专业讲解)
若你接触的是精品酒店,连锁酒店,民宿,那需要你发挥的空间是巨大的,首先保持专业的姿态,先认知到酒店的酒店布草纺织品适用性能的基本标准及特性。
1.毛巾类产品平方克重相对较高,更有质感,蓬松度和吸水性能更出众;
2.颜色以素色、白色、米色为主,追求极简的视觉质感美;
3.面料类产品纱支高,密度大,制作精细、柔软度极高,接触皮肤的舒适度好;
4.被芯枕头类的填充物品,注重回弹性、环保性及抗粉尘的控制,保证睡眠无污染;
5.染色工序需要适应频繁的工业化洗涤,断裂强力、吸水性、耐洗色牢度和耐摩擦色牢度,抗螨,抗菌,抗过敏源,以保证与皮肤接触产品的无污染性。


3.
星级酒店布草种类繁多,怎么甄选优质?
01、布草的基本实用知识
掌握布草的实用知识,无论你遇到星级酒店的布草选配,还是大宅别墅的家纺采购,都可以轻松应对,技多不压身。
布草的面料=纤维+纱支

纤维编制的装置艺术
一、纤维
纤维的概念
纤维是天然或人工合成的,长度比直径大千倍以上且它是一种带有一定柔韧性的细丝状物质。
纤维的分类:天然纤维,合成纤维
1)、天然纤维
直接从自然界取得的纤维,一般有两种形式:
植物纤维,例如:棉、麻等;动物纤维,例如羊毛,蚕丝等

2)、合成纤维
合成纤维是通过化学处理、压射抽丝的方法制丝取得的纤维,例如腈纶、涤纶、尼龙等。(移步窗帘面料材质篇)
3)、纤维质量如何快速鉴别
纤维的粗细、长短是决定面料手感的重要因素。
a、粗纤维的布料有硬、挺、粗的手感,具有抗压性。纤维越短,面料越粗糙,越容易起毛球。
b、细的纤维给予布料柔软、薄的手感。纤维愈长,纱线愈光洁平整,愈少起毛球。
酒店使用的布料要求必须是细的纤维纺织成的。
二、纱
关于酒店项目的采购听到“关于布草我们也很纳闷,供应商经常有40S、60S、80S各种选择,不知道怎么挑选。不同供应商看到的布料质量也是不同的”

纱支
纱支是组成成品布的最基本的单位,纱支的数字与其粗细成反比,数字越大越细,而相应的对原料(棉花)的品质要求也更高。
纱支标记为" S ",30S以上称为高支纱,据粗细一般分为21支、30支、40支、60支、80支。常见的床上用品都是40支,星级酒店的纱支在100~120S以上。
纱的细度表示
纱一般是用它的细度来表示的。
指一磅(454克)重的棉纱在规定回潮率时,有几个840码(1码=0.941米)长,即为几英支纱,可简单读作“几支纱”,单位用“S”表示。
什么叫公定回潮率?
定义公式: 回潮率=(湿重—干重)/干重×100%

02、酒店布草面料的分类有哪些?

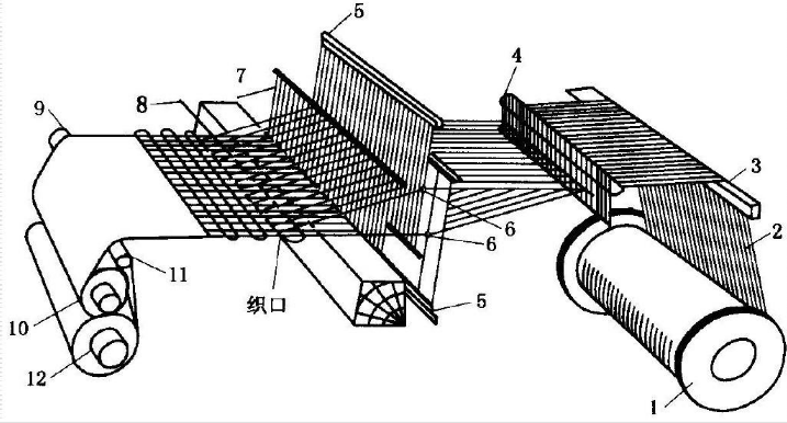
1)、机织物:
由相互垂直排列即横向和纵向两系统的纱线,在织机上根据一定的规律交织而成的织物。
如酒店布草中的被套,床单,台布面料大多是机织物。

机织物形成构造
2)、非织造布:
将松散的纤维经粘合或缝合而成。目前主要采用粘合和穿刺两种方法。
如酒店布草中的某些洗衣袋,一次性拖鞋都是非织造布。

3)、纯纺织物:
构成织物的原料都采用同一种纤维,有棉织物、毛织物、丝织物、涤纶织物等。
如酒店布草中的被套,床单,枕套等基本都是纯棉织物,也叫全棉织物。

4)、混纺织物:
构成织物的原料采用两种或两种以上不同种类的纤维,经混纺而成纱线所制成。
如酒店布草中有些被套,床单,枕套就是涤棉等混纺织物。
5)、交织织物:
构成织物的两个方向系统的原料分别采用不同纤维纱线。
如酒店布草中的多数床裙面料和床尾垫面料就是交织织物。
6)、酒店床的规格
长:2m,宽:1.2m
长:2m,宽:1.5m
长:2m,宽:1.8m

澳门文华东方酒店
一般被套、床单、保护垫、床裙、床尾垫等都分大、中、小等规格。
例如被套的尺寸在放进被子以后能够遮挡住床垫及部分床架。床垫和床架之间有一条缝隙,被子如果挡不住缝隙,就影响床的视觉效果。所以在订布草的尺寸时,床单一般要比床长宽各多出80cm。
最后分享世界顶级床品的品牌,可作为设计视野的拓展。


今日得到
好了,本期内容作为《软装严选·成长营》软装产品-窗帘布艺设计篇,
上新的织物陈设中家纺+酒店皮草的第1讲,织物作为室内陈设的第三大板块,我们站在织物陈设最高角度,去思考探索布草的专业,拓宽你的基础认知,本讲的内容与窗帘布艺篇同属于一个织物陈设的分支。
谨记:学习输出的目的不是为了死记硬背,是掌握设计背后的规律,应用方法和底层逻辑,灵活的匹配应用到自己的工作中去,这才是高效学习的严格要求与输出。
今日练习
布艺学习了这么多,你也是并没有接触到酒店设计的项目,但你掌握了织物陈设的基础知识的认知,你可以应用到空间陈设中的任何住宅或工装领域。
今天的刻意练习题自己归纳总结成思维导图或笔记,帮助自己强化理解,每天积攒一点点,让自己养成习惯。
同时,也欢迎在本期知识星球内容下面的评论区写下你的作业和观点,和大家一起过过招。
下期预告
1、如何从星级酒店中学习床品搭配的一套方法体系?
2、怎么才能把床品花纹,颜色与室内空间协调统一?
这是我们下期的内容,不见不散。

声明:「软装严选 - 成长营」知识星球内所有原创内容的版权归软装严选所有,任何人不得私自转载侵权作为商业用途,违者必承担严重的法律后果。

